Переплетно-картонажное изделие (книга)
Введение
Величайшим достижением человечества я считаю книгу. Слово книга происходит от древнерусского "кънига", что означает "письмо, грамота". К своему современному виду книга пришла за столетия преобразований. Я очень люблю читать русские народные сказки. Может я уже и не маленький, но столько юмора, столько сноровки у героев, столько чудесного можно узнать из сказки. А как замысловато выписаны первые буквы некоторых книг сказок, эти буквы мы сейчас читаем по-другому, и не пишем их так, а очень жаль, ведь как прекрасны.
Жили-были... Вот какая красавица, буква "живете", она показывает и знания рода, семьи, вниз пошли корни - прародители, предки, а вверх ветви - детки, потомки. И все это тесно переплетено, взаимосвязано. Очень красиво, завораживает. Но я хочу создать книгу, для которой слов еще нет, а вот листы белые, чистые - готовы, сложены, сшиты, вставлены в переплетную крышку. Ждут страницы своего автора. Может девочка напишет свои первые стихи о любви, может мальчишка нарисует самолет. Книга эта - подарок, сувенир, в нее можно спрятать свои тайные мысли и она будет их хранить. Хочется, чтобы получилась она нарядной, яркой, оригинальной.
Цели и задачи
Цель: изготовление переплетно-картонажного изделия (тип - книга) вручную.
Задачи:
- овладеть в полном объеме ручной технологией переплетно-брошюровочных работ;
- углубить знания, умения и навыки в технологических операциях при изготовлении переплетно-картонажных изделий;
- развивать творческую инициативу и художественный вкус.
План работы
1. Определить тип переплетно-картонажного изделия, проблемы, которые будут решаться в ходе проектирования.
2. Собрать информацию по теме проекта в учебниках, книгах и журналах.
3. Подготовить технологическую карту, содержащую описание процесса изготовления изделия.
4. Изучить пооперационную карту, позволяющую проводить изготовление изделия по операциям, постепенно.
4. Подготовить все материалы и инструменты, необходимые для изготовления переплетно-картонажного изделия.
5. Продумать организацию рабочего места и охрану труда.
6. Повторить и углубить знания технологических операций.
7. Провести все технологические операции с соблюдением правил техники безопасности.
8. Составить отчет о проделанной работе.
9. Защитить проект.
Ручная технология переплетно-брошюровочных процессов
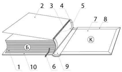
Разберем каждую технологическую операцию. А начнем с конструкции книги. Книгой считается переплетно-картонажное изделие объемом свыше 48 страниц. В моем изделии 100 листов, значит, она может вполне считаться книгой. Основу книги составляет книжный блок Б, который заключен в переплетную крышку К (см. рис.1). Книги имеет обложку. Книжный блок состоит из нескольких тетрадей или листов, скрепленных между собой в корешке.

Рис.1. Конструкция книги
Б - книжный блок;
К - переплетная крышка
1 - книжные тетради
Корешок (5) - это левая торцовая сторона блока Б, по которому осуществляется скрепление тетрадей или листов книги.
Форзац (2) - это два четырехстраничных листа бумаги, при помощи одного из них осуществляется соединение первого листа блока с передней стороной крышки, а второй соединяет последний лист блока с задней сторонкой крышки. Форзац служит также элементом оформления книги и закрывает оборотную сторону переплетной крышки.
Каптал (4) применяется для более прочного соединения тетрадей в блоке, а также как элемент украшения книг среднего и большого объема. Каптал представляет собой тканевую тесьму с утолщенным цветным краем, которым приклеивается к верхнему и нижнему краям обрезанного книжного блока.
Корешковый материал (3) скрепляет блок с переплетной крышкой. В качестве материала применяют марлю или другой заменяющий ее материал. Ширина материала превышает толщину блока, а выступающие края приклеивают к внутренним сторонам крышки. На корешок наклеивается бумажная полоска (5), что увеличивает прочность скрепления блока с крышкой.
Обрезами называют торцевые стороны (передняя, верхняя и нижняя) книжного блока и для улучшения оформления книги и для предупреждения загрязнения их иногда закрашивают.
Ленточка-закладка (6) облегчает пользование книгой. Она выполняется из тесьмы, один конец которой прикрепляется к верхней части корешка блока, а сама ленточка вводится внутрь блока и выходит за край нижнего обреза.
Картонная сторонка (7) - переплетный картон толщиной 2 мм, используется для изготовления переплетной крышки.
Покровной материал (8) - материал для переплетной крышки книги.
Отстав (9) - деталь переплетной крышки, между картонными сторонками, определяет толщину книжного блока.
Кант (10) - выступающие, за пределы книжного блока края переплета.
Технические требования
Переплетно-картонажное изделие должно удовлетворять всем требованиям к книжной продукции.
Изделие должно быть выполнено эстетично и аккуратно.
Обложка, красиво украшенная, отражает художественный вкус автора проекта .
Изделие должно стать оригинальным подарком и украшением книжной полки, письменного стола.
Брошюровочные и переплетные операции
К брошюровочным операциям относятся:
1. Фальцовка (сгибание листов в тетради).
2. Приклейка форзацев к тетрадям.
3. Соединение блоков, после комплектовки их по порядку тетрадей.
Хочу отметить, при фальцовке важно, чтобы уголки сгибаемого листа точно совпадали. Гладилку применяем только убедившись в правильности сложения (слайд № ). При второй операции на первую и последнюю тетради от корешка тетради наносим клей кистью на 5-6 миллиметров с целью приклеивания форзаца (слайд № ). Соединение блоков осуществляется шитьем вручную "внакидку" синтетическими нитками, иголкой № 10 по разметке (слайд № ). Важно правильно выполнить разметку блока, используя шаблон. При шитье тетради должны туго прилегать друг к другу (регулирование натяжение нити).
К переплетным операциям относятся:
1. Заклейка корешка блока.
2. Обрезка блока с трех сторон на БРМ.
3. Изготовление и отделка переплетной крышки.
4. Обработка корешка блока, приклейка каптала.
5. Вставка блока в переплетную крышку.
6. Оформление готового изделия.
При заклейке корешка используем техническую марлю. Важно, предохранить книжный блок от потеков клея. При обрезке блока на машине, соблюдаем технику безопасности. Обращаем внимание на разметку.
Особое внимание уделю изготовлению переплетной крышки. Моя переплетная крышка по конструкции цельнокрытая, с кантами. По материалу - тканевая, по свойству материала - твердая.
При расчёте деталей переплётной крышки и блока используется определённые условные обозначения:

Для того, чтобы блок соответствующим образом вмещался в переплётную крышку выполняется расчёт всех её деталей и шпации (как промежутка между двумя картонными сторонками) по формуле.
Где, Тот - ширина отстава
2 ч - два расстава
2 к - две толщина картонных сторонок
Все эти размеры суммируются и получается размер - шпации, по которому вырезают её шаблон.
На загибку кантов корешка и обложек прибавляется по 15 мм.
При обработке корешка блока обратить внимание на изготовление и приклейку каптала. Один приклеивается в верхней части корешка блока, второй в нижней. Каптал выступает за пределы книжного блока на 1-2 миллиметра.
Вставка блока в переплетную крышку - это из завершающих и наиболее ответственных этапов изготовления книги, поскольку от качества вставки зависит срок службы книги, удобство пользования ею и внешний вид. Обращаю внимание, важную роль в процессе вставки играет правильное совмещение основных деталей блока и переплетной крышки. Точность совмещения блока с крышкой зависит от точности их линейных размеров. Существенное влияние на качество вставки оказывают правильный размер шпации и симметричность обработки корешка блока.
Качество вставки блока в переплетную крышку зависит также от качества используемого клея. Он должен иметь технические свойства:
- легко наносится на бумагу;
- иметь хорошее скольжение. Чтобы можно было поправить положение блока в крышке;
- относительно быстро сохнуть;
- быть бесцветным;
- не изменять цвета бумаги с течением времени;
- обладать быстрым схватыванием, чтобы блок не совмещался относительно крышки при перемещении книги.
Эти свойства имеет специальный полиграфический клей ПВА-Д. Его возможно разводить водой при определенных операциях.
Художественное оформление изделия. Метод "мозгового штурма"
При оформлении изделия использовал метод "мозгового штурма". Метод прост, так как содержит всего четыре шага:
1. Постановка задачи.
2. Выдвижение идей.
3. Обсуждение идей.
4. Принятие решения.
Для решения художественного оформления обложки переплетной книжки я собрал одноклассников и пригласил к участию педагога Надежду Николаевну. Перед нами стояла задача - сделать обложку оригинальной, яркой и нарядной. Все размышляли свободно, без дискуссии, предлагая интересные решения. Эти решения я записывал, зарисовывал, прикидывал окончательный внешний вид. Предлагали использовать плотную обойную бумагу, возможны варианты: однотонная или с рисунком. Достаточно простой вариант. Предложили использовать кожу. Но оттенки имелись только темные, книга не будет нарядной, но презентабельной, дорогой. Надежда Николаевна предложила использовать техническую ткань разного цвета. Мне показалась идея достойной, но не будет ли книга скучновато выглядеть. Решили на ткань приклеить аппликацию из разных по цвету технических тканей. Сначала из тонкого картона вырезали различные шаблоны и клали на книгу, оценивая результат. Наконец, пришли к единому мнению, я принял окончательное решение.
Заключение
В результате работы над созданием переплетно-картонажного изделия (тип-книга), я овладел всеми операциями переплетно-брошюровочных работ. Каждая из них имеет свои особенности. Практически любая требует внимательности и аккуратности, ведь не все огрехи можно исправить, все это отражается на внешнем виде изделия. А это не просто книга с белыми листами, это - подарок, сюрприз. Это рукотворная красота, которой я могу гордиться. Пришлось и к вычислениям приобщиться, ошибка - испорченный дорогой материал! Мне, конечно, пригодился весь свой опыт, умения и навыки в работе с бумагой, я легко работаю с картоном, даже толстым, освоил бумагорезальную машину. Очень понравилось мне обсуждать с ребятами внешний вид изделия. Думаешь, что я сам не смогу, а другие такие оригинальные идеи выдвигают, что понимаешь, сам бы не дошел! А через их идеи и сам обогатился. Работа доставила мне радость и удовольствие, хотя пришлось попотеть. Спасибо за помощь и руководство моей учительнице технологии Романюк Надежде Николаевне.
Литература
- Ю.П. Ирошников, И.Г. Ирошникова "Переплет и реставрация книг", М., изд-во "Знание", 1989.
- Г.В. Васенков "Ручная технология переплетно-брошюровочных процессов", М., 2003.
- Г.В. Васенков, Е.А. Воробьев, Л.Д. Степанова "Технологический альбом картонажно-переплетных работ", М., Гуманитарный издательский центр "Владос", 2006 г.
Приложения
- pril1.docx (49.67 КБ)
- pril1.ppt (6.23 МБ)
- pril2.docx (14.72 КБ)
- pril3.docx (13.94 КБ)
- pril4.docx (28.68 КБ)