Урок черчения "Правила оформления конструкторских документов-чертежей: масштабы; нанесение размеров на чертеже"

10.04.2010

Цель урока: Формировать у учащихся знание правил ГОСТ ЕСКД по оформлению конструкторских документов-чертежей. Сформировать представление о масштабах и их обозначениях. Обеспечить в ходе урока знакомство с правилами нанесения размеров на чертежи и другие технические документы.

Задачи:

Образовательная. Закрепить усвоение понятий ГОСТ ЕСКД. Сформировать знания понятия масштаб и правил нанесения размеров на чертежи.

Развивающая. Развитие пространственных представлений, наблюдательности, логического мышления, самостоятельного анализа, умений применять формируемые знания в новых ситуациях.

Воспитательная. Формировать у учащихся представление о роли чертежа, как интернационального языка техники.

Вид урока: стандартный классический.

Тип урока: комбинированный.

  • организация начала урока;
  • проверка предыдущих знаний учащихся для подготовки к новой теме
  • постановка цели урока
  • изучение новых знаний, необходимых для формирования умений
  • упражнения в применении знаний и умений
  • самостоятельная практическая работа систематизирующего характера
  • подведение итогов и результатов урока
  • задание на дом

Для реализации цели и задач урока использовались различные методы и приемы обучения, т.е. способы современной деятельности учителя и учащихся, направленные на решение дидактических задач обучения.

1) Применяемые методы из классификации по источнику получения знаний.

Словесные методы.

Объяснение – монологическая форма объяснения, словесное истолкование

Беседа – диалогический метод обучения

Эвристическая беседа – подведение учащихся к пониманию новых знаний, создание проблемной ситуации.

Наглядный метод.

Метод демонстраций – демонстрация приемов нанесения размеров на чертеж, наглядных пособий.

Практический метод.

Практическая деятельность учащихся – выполнение задания по определению правильности нанесения размеров на чертеж

2) Средства обучения.

Материальные – кабинет, мебель, микроклимат, доска, мел, наглядные пособия, карточки для индивидуальной работы, чертежные принадлежности, рабочая тетрадь.

Идеальные (умственные действия).

Вербальные – речь (обмен информацией между участниками учебного процесса).

Материализованные – схемы нанесения размеров на чертеж, выполненные учителем во время объяснения нового материала.

3) Форма организации работы учащихся.

Фронтальная – учитель ведет работу со всем классом одновременно (объяснение, показ); все ученики выполняют одинаковую, общую для всех работу (обсуждение).

Индивидуальная – каждый ученик самостоятельно выполняет задание, предложенное учителем.

План урока.

  1. Организационный момент. Проверка предыдущих знаний
  2. Введение в тему урока. Объяснение новой темы
  3. Практическая работа с классом.
  4. Индивидуальная практическая работа.
  5. Подведение итогов
  6. Задание на дом. Организационный момент

Ход урока

1. Организационный момент.

Цель: Поздороваться с детьми, настроить их на работу.

2. Проверка предыдущих знаний

Цель: Подготовить переход к новой теме.

Прежде чем мы начнём проходить новую тему, следует повторить некоторые понятия предыдущего урока.

Вопрос 1: Что такое ГОСТ?

Ответ: Государственный стандарт – документ, устанавливающий комплекс норм, правил, требований.

Вопрос 2: Что такое ЕСКД?

Ответ: Единая система конструкторских документов – комплекс стандартов, устанавливающих правила и положения по порядку разработки и оформлению конструкторских документов

Вопрос 3: Что такое формат?

Ответ: Лист определённого размера.

Вопрос 4: Какие форматы вам известны?

Ответ:

А4 – 210*297

А3 – 297*420

А2 – 420*594

А1 – 594*841

3. Введение в тему урока.

Цель: Создать эмоциональный настрой на восприятие темы урока.

Сегодня на уроке мы продолжаем знакомство с правилами оформления конструкторских документов-чертежей. И вот вопросы, на которые мы должны ответить:

  1. Что называется масштабом? Для чего служит масштаб?
  2. Какие масштабы существуют и как они записываются?
  3. В каких единицах выражают размеры?
  4. Как располагаются на чертеже размерные и выносные линии?
  5. Как проставляют размеры?
  6. Какие условности существуют при нанесении размеров на чертеже?

4. Объяснение учителем новой темы

Цель: Сформировать представление о масштабах и их обозначениях. Обеспечить в ходе урока знакомство с правилами нанесения размеров на чертежи и другие технические документы.

В практике приходится выполнять чертежи различных изделий. Не всегда размеры изделия и размеры форматов бумаги позволяют выполнить чертеж в натуральную величину. В таких случаях чертеж выполняют в измененном виде, т.е. в некотором масштабе.

Масштаб – это отношение линейных размеров изображаемого предмета на чертеже к его натуральным действительным размерам.

ГОСТ устанавливает следующие масштабы.

Масштабы уменьшения: 1:2; 1:2,5; 1:4; 1:5; 1:10; 1:15; 1:20; 1:25; 1:40; 1:50; 1:75; 1:100;…

Натуральный масштаб: 1:1

Масштабы увеличения: 2:1; 2,5:1; 4:1; 5:1; 10:1; 20:1; …

Для определения величины изображенного изделия или какой- либо его части по чертежу на нем наносят размеры.

Правила нанесения размеров устанавливают стандарты ЕСКД:

  1. Размеры разделяют на линейные (в мм - не указывают на чертеже) и угловые (градусы, минуты, секунды – обозначают на чертеже) <Рисунок 1>
  2. Размеры указывают размерными числами, выносными и размерными линиями. <Рисунок 2>
  3. Выносные и размерные линии выполняют сплошной тонкой линией. Размерные линии заканчиваются стрелкой. <Рисунок 3>
  4. Выносные линии перпендикулярны отрезку, размеры которого обозначают. Размерные линии выносят за контур изображения на расстояние 6-10 мм., такое же расстояние между параллельными размерными линиями. Концы выносных линий выступают за размерные линии на 1-5 мм. <Рисунок 2>
  5. Размерное число пишут параллельно размерной линии. Над линией – если она горизонтальна или слева от неё – если линия вертикальна. <Рисунок 4>
  6. Если длина размерной линии мала, линию продолжают, а стрелки наносят с наружной стороны. <Рисунок 4>. Если размеры расположены цепочкой, стрелки допускается заменять точками или засечками под углом 45о <Рисунок 1>
  7. Каждый размер указывают 1 раз, начинают с наименьшего. Необходимо избегать пересечения размерных и выносных линий. <Рисунок 4>
  8. Если на чертеже дана полная окружность указывают размер диаметра (кружок, перечеркнутый линией) <Рисунок 5>
  9. Если на чертеже изображена дуга необходимо указать размер радиуса (прописную латинскую букву R). Размерную линию проводят из центра дуги, размерная стрелка упирается в точку окружности. <Рисунок 6>
  10. Если деталь имеет несколько одинаковых элементов - обозначают размер одного с указанием количества этих элементов. <Рисунок 7>
  11. На параллельных размерных линиях размерные числа располагают в шахматном порядке. <Рисунок 1>
  12. При изображении детали в 1 проекции толщина обозначается S , а длина L перед размерным числом. <Рисунок 8>
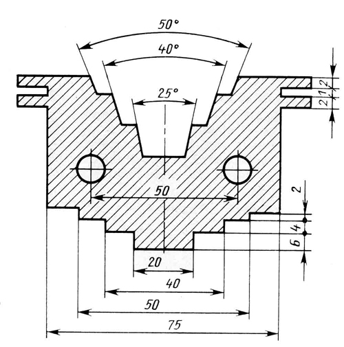
  13. Размеры проставляют действительные, независимо от масштаба. Угловые размеры при уменьшении и увеличении изображения не изменяются. <Рисунок 9>
  14. Обязательно проставляют размеры, указывающие взаимное положение частей предмета и габаритные размеры. <Рисунок 10>

6. Практическая работа с классом.

Цель: Закрепление полученных знаний, путем совместного анализа чертежа детали, осмысление материала учениками

Задание:

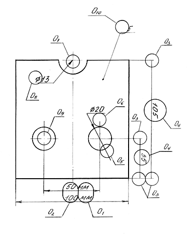
Определить ошибки на чертеже детали предложенном учителем. (Рисунок 11)

Ошибки: <Рисунок 12>

О1 - ненужно указывать миллиметры при обозначении линейных размеров

О2 - размерные числа на параллельных размерных линиях должны стоять в шахматном порядке

О3 - размерные линии должны заканчиваться стрелкой

О4 – размерные числа ставят слева от вертикальной размерной линии

О5 – при обозначении диаметра необходимы две размерные стрелки

О6 – так как в детали два одинаковых отверстия необходимо это указать при помощи надписи “2 отв.”

О7 – размерную линию проводят из центра дуги, размерная стрелка упирается в точку окружности.

О8 - на чертеже изображена дуга, поэтому необходимо указать размер радиуса (прописную латинскую букву R).

О9 – цент окружности должен лежать на пересечении штрихов штрихпунктирной линии

О10 – перед размерным числом должна стоять буква S, которая обозначает толщину детали.

7. Индивидуальная практическая работа.

Цель: Закрепление полученных знаний, путем самостоятельного анализа и логического мышления

Задание:

Напишите номер чертежа, на котором правильно проставлены размеры детали.

<Рисунок 13>; <Рисунок 14>; <Рисунок 15>; <Рисунок 16>

Ответы: правильными являются варианты 1 – для всех нечетных заданий, варианты 2 – для всех четных заданий.

8. Подведение итогов.

Цель: Формирование эмоционально-оценочного отношения к чертежу

Ученики отвечают на вопросы, поставленные вначале урока:

  1. Что называется масштабом? Для чего служит масштаб?
  2. Какие масштабы существуют и как они записываются?
  3. В каких единицах выражают размеры?
  4. Как располагаются на чертеже размерные и выносные линии?
  5. Как проставляют размеры?
  6. Какие условности существуют при нанесении размеров на чертеже?

9. Задание на дом:

Цель: Применение полученных знания в новых ситуациях, подготовка к графической работе.

Ботвинников А.Д., Виноградов В.Н., Вышепольский И.С. Черчение, учебник для 7-8 классов средней школы. Параграф № 2.5; 2.6; рис.36а стр.30 (задание к графической работе № 2), выполнять в тетради.

10. Организационный момент.

Цель: Поблагодарить учеников за урок, попрощаться с детьми.

Литература

  1. Ботвинников А.Д., Виноградов В.Н., Вышепольский И.С. Черчение. Учебник для 7-8 классов общеобразовательных учреждений. М.: Астрель*АСТ. 2004.
  2. Боголюбов С.К. Черчение. М. Машиностроение. 1985.

a_id: 571315